电动衬氟球阀 特点
1、 耐腐蚀:阀体内腔及理体均包衬2.5-3mm厚的F46,能耐酸、碱,耐强腐蚀。
2、采用丝瓜视频污污污色版下载阀座,密封性能好。
3、体积小,重量轻,结构简单,安装维修方便。
4、流阻小,流通能力
电动衬氟球阀 执行机构选配介绍
项目类型 | JT-05 | JT-10 | JT-20 | JT-40 | JT-60 | JT-100 | JT-200 |
输出力矩 | 50N.M | 100 N.M | 200 N.M | 400 N.M | 600 N.M | 1000 N.M | 2000 N.M |
动作范围 | 0~90° | ||||||
额定电流 | 0.15A | 0.3A | 0.45A | 0.7A | 0.7A | 0.85A | 0.85A |
绝缘电阻 | 100M/DC500V | ||||||
电源 | AC110/220/380V DC24V | ||||||
电机功率 | 8W/E | 23 W/E | 45 W/E | 90 W/E | 90 W/E | 120 W/E | 120 W/E |
选配阀门 | 15-25 | 15-65 | 80-100 | 100-125 | 125-150 | 150-200 | 200-250 |
执行器重量 | 2.6Kg | 4.2 Kg | 7.9 Kg | 8.7 Kg | 9 Kg | 14.7 Kg | 15 Kg |
所配阀门压力为1.6MPa
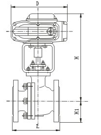
电动衬氟球阀 外形尺寸

公称通径 | 标准值 | 参考值 | ||||||||
DN(mm) | NPS(inch) | L | D | D1 | D2 | f | b | Z-¢d | L1 | H |
PN1.6(MPa) | ||||||||||
15 | 1/2 | 140/130 | 95 | 65 | 45 | 2 | 14 | 4-¢14 | 231 | 350 |
20 | 3/4 | 140/130 | 105 | 75 | 55 | 2 | 16 | 4-¢14 | 231 | 370 |
25 | 1 | 150/1340 | 115 | 85 | 65 | 2 | 16 | 4-¢14 | 231 | 375 |
32 | 11/4 | 165 | 135 | 100 | 78 | 2 | 18 | 4-¢18 | 231 | 385 |
40 | 11/2 | 180/165 | 145 | 110 | 85 | 3 | 18 | 4-¢18 | 231 | 390 |
50 | 2 | 200/203 | 160 | 125 | 100 | 3 | 20 | 4-¢18 | 231 | 435 |
65 | 21/2 | 220/222 | 180 | 145 | 120 | 3 | 20 | 4-¢18 | 261 | 460 |
80 | 3 | 250/241 | 195 | 160 | 135 | 3 | 22 | 4-¢18 | 261 | 465 |
100 | 4 | 280/305 | 215 | 180 | 155 | 3 | 24 | 8-¢18 | 285 | 612 |
125 | 5 | 320/356 | 245 | 210 | 185 | 3 | 26 | 8-¢18 | 285 | 625 |
150 | 6 | 360/394 | 280 | 240 | 210 | 3 | 28 | 8-¢23 | 325 | 700 |
200 | 8 | 457 | 335 | 295 | 265 | 3 | 30 | 8-¢23 | 325 | 740 |













